TDR-X – Roller Thrust Washer (541500) Discontinuation
Replacement of Roller Thrust Washer kit (541500) with Roller Thrust Bushing (541510) kit
Affects: TDR-X Mowers up to Serial #23111296
Original Thrust Washer Setup
Original TDR-X mowers were built with a polyethylene thrust pad located between the roller and the side channels. The purpose to this thrust pad was to prevent the roller from contacting the bolts used to hold the bearings in place, which would damage the rollers during operation.

A TDR-X with Thrust Washers installed between roller and side channel
Through great feedback from our customers, we learned that these Thrust Washers didn’t perform as expected. Issues varied, but ranged between washers being worn beyond usefulness, or potentially even missing completely. The result was damage to the ends of rollers, potentially leading to failure of the roller. There would also often be damage to the bolts holding the bearings, making removal more difficult.
Solution – Roller Thrust Bushings
In 2023, the side channel and roller assembly was redesigned with this issue in mind. The plastic thrust washers were removed, and instead a new steel collar was inserted between the bearing and the roller. This new collar was designed to fill the distance between the end of the roller and the bearing, ensuring that the roller cannot move far enough to contact the bolts.

A TDR-X with Roller Thrust Bushings installed between roller and bearing
Starting at Serial #23111297, all TDR-X mowers are manufactured with Roller Thrust Bushings installed at factory. Unlike the polyethylene thrust washers, they are not expected to receive regular wear and need replaced with the same frequency.
Backwards Compatibility
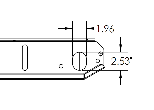
While the new kit can be installed on serials prior to #23111297, it requires some modification to the deck side channels. The original deck side channels had a 1.53″ wide slot for the shaft to pass through to the bearing. With the Roller Thrust Bushings, that slot has been widened to 1.96″ to allow the bushing to fit without binding. Machines prior to the change will either need to replace the side channels, or enlarge the slot in the side channel to accommodate the Roller Thrust Bushings.
Important: You cannot install Roller Thrust Bushings on a TDR-X prior to Serial #23111297 without modifying or replacing the channels. If you do, the roller will not be able to turn and damage to equipment and facilities may result.
Deck Side Channel Replacement
All deck side channels sold by Progressive Turf today are compatible with the Roller Thrust Bushings. There is no modification required for any channels sold today, or on any machines built after Serial #23111297.
Customers that wish to purchase new deck side channels from their distributor can do so under Part #541016 for Red, or Part #541016G for Green. Choose whichever color matches your mower.
Deck Side Channel Modification
Customers wishing to modify their existing side channels can do so with a variety of tools. Metal working can have many dangers, always be sure to follow proper safety procedures, and wear appropriate gear for safe execution of the task. Angle grinders, die grinders, and other metal cutting tools can be used if appropriate to cut 1/4″ thick steel.

Enlarge the existing slot to 1.96″ (approx. 50mm) to allow the bushing to pass through the deck side channel without interference










